
|
型号
|
LZB-15BF4 | LZB-25BF4 | LZB-40BF4 | LZB-50BF4 | LZB-80BF4 | LZB-100BF4 | |
| 公称通径(mm) | DN15 | DN25 | DN40 | DN50 | DN80 | DN100 | |
|
测量范围 |
液体 L/h |
16~160 | 40~400 | 160~1600 | 400~4000 | 1~10m3/h | 5~25m3/h |
| 25~250 | 60~600 | 250~2500 | 600~6000 | 1.6~16m3/h | 8~40 m3/h | ||
| 40~400 | 100~1000 | ||||||
|
气体 Nm3/h |
0.25~2.5 | 1~10 | 4~40 | 10~100 | 50~250 | 120~600 | |
| 0.4~4 | 1.6~16 | 6~60 | 16~160 | 80~400 | 200~1000 | ||
| 0.6~6 | 2.5~25 | ||||||
| 精度等级(±%) | 4 | 2.5 | 2.5 | 2.5 | 2.5 | 2.5 | |
|
工作压力 (MPa) |
≤0.6 | ≤0.6 | ≤0.6 | ≤0.6 | ≤0.4 | ≤0.4 | |
| 工作温度(℃) | -20~120 | ||||||

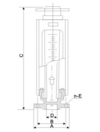
| 型 号 | 尺寸 | ||||
| A | B | C | D | n-E | |
| LZB-15BF4 | Φ95 | Φ65 | 470±2.5 | Φ15 | 4*Φ14 |
| LZB-25BF4 | Φ115 | Φ85 | 470±2.5 | Φ25 | 4*Φ14 |
| LZB-40BF4 | Φ145 | Φ110 | 570±3 | Φ40 | 4*Φ18 |
| LZB-50BF4 | Φ160 | Φ125 | 570±3 | Φ50 | 4*Φ18 |
| LZB-80BF4 | Φ185 | Φ150 | 660±3.5 | Φ80 | 4*Φ18 |
| LZB-100BF4 | Φ205 | Φ170 | 660±3.5 | Φ100 | 4*Φ18 |