双法兰差压变送器测量液位的计算公式
发布时间:2025-09-03 ???
浏览次数:
1概述
在工业生产过程中常常需要对工艺设备(如箱、槽、罐)内液体介质的液位进行测量和控制,通过利用
双法兰差压变送器(
双法兰液位变送器)对这些设备的液位测量和控制可以准确观察容器中贮藏物料的液位高度、容量;随时知道容器内液位的高低,对液位上、下限进行报警控制,并连续对生产过程进行监控,使液位保持在工艺中所要求的液位高度。
目前测量液位的方法及仪表很多,如直测、浮力、静压、差压、电容、超声波、微波以及激光等原理测量。但是在有的工艺生产当中存在着不同的液体介质,这些液体具有腐蚀性或含有结晶颗粒,粘度大,易凝固等。为了解决导压管线被腐蚀或被堵塞的问题,可选用
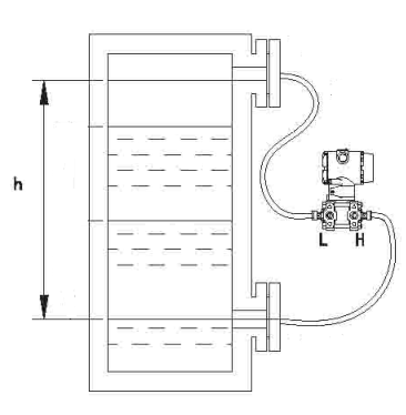
双法兰差压变送器来测量液位,如上图所示。作为敏感元件的金属膜盒通过铠装毛细管与变送器的测量室相连,在膜盒、铠装毛细管和测量室所组成的封闭系统内充有密封液体(一般为硅油)作为传压介质。为使毛细管经久耐用,其外部均套有金属蛇皮管?;ぁ?br />
2双法兰差压变送器在液位测量中的安装及测量技术公式
双法兰差压变送器可安装在任何高度和位置。但是用于真空场合变送器的安装位置不能高于低压室法兰的水平线。在液位测量中双法兰差压变送器通常用于密闭容器,高压室法兰用来消除容器内压力(或真空)变化的影响,低压室法兰用来测量容器内液体的液位。如果用于开口容器,则高压室法兰应与容器低端法兰相接,而低压室法兰应置于大气中,并保持与高压室法兰同样高度。
1)变送器安装在开口容器低端法兰水平线以下,如下图:

如图所示,高压室法兰与容器低端法兰相接,而低压室法兰安装在与高压室法兰同一水平线上的大气中。那么变送器量程为L=H·ρ
零点迁移量为A=h1·ρ1-h2·ρ2
最低测量液位时,作用于变送器上的等效静压差为△P1=h1·ρ1-h2*ρ2=A.
最高测量液位时,作用于变送器上的等效静压差为△P2=(H+h1)·ρ1-h2*ρ2=H·ρ1+A
式中h2一变送器正、负压室中心线到容器低端法兰中心线之间的高度。ρ2一变送器铠装毛细管内液体的密度。变送器校验范围为△P=△P1~△P2=A~H·ρ1+A
对应于变送器的输出(若变送器为正作用)为4~20mA.DC。
2)变送器安装在密闭容器低端法兰水平线以上
高压室法兰与容器高端法兰相接,低压室法兰与容器低端法兰相接。为避免变送器在测量过程中出现盲区应满足下列条件:H1-ρ1≥h2·ρ2
变送器量程为L=:H·ρ1
零点迁移量为A=(h3-h2)·ρ2-(h1·ρ1-h2·ρ2)=h3ρ2-h·ρ1
最低测量液位时,作用于变送器上的等效静压差为△P2=(h3-h2)·ρ2-(h1·ρ1-h2·ρ2r)=A
最高测量液位时,作用于变送器上的等效静压差为△P2=(h3-h2)·ρ2-[(h1+H)·ρ1-h2·ρ2]=A-H·ρ1
变送器校验范围为△P=△P1~△P2=A~A-H·ρ1
对应于变送器的输出(若变送器为反作用)为4~20mA.DC。
对于上述四种情况,如果变送器的高、低压室法兰的安装位置互换,可以进行同样的分析计算,而零点迁移由正迁移变为负迁移。