
LZB-GA24型玻璃转子流量计是众多玻璃转子流量计的一种产品,由于其具有测量精度高,稳定性好,互换性好等特点,以及可以提供毫米、百分、流量标尺以方便不同的用户选择使用。
LZB-GA24型玻璃转子流量计主要技术参数:
| 型 号 |
公称通径 DN(mm) |
测 量 范 围 |
精度 (%) |
工作温度 (℃) |
工作压力 (MPa) |
|
|
水20℃ (L/h) |
空气 101325Pa20℃(m3/h) |
|||||
|
LZB-GA24-15 LZB-GA24-15F |
15 |
4~40 6.3~63 10~100 12~120 16~160 20~200 25~250 30~300 36~360 40~400 46~460 63~630 65~650 75~750 |
0.12~1.2 0.2~2 0.3~3 0.4~4 0.5~5 0.6~6 0.8~8 0.9~9 1.2~12 2~20 |
1.5 2.5 |
-20~+60 或者 -20~+120 (特殊订制) |
<1.0 |
|
LZB-GA24-25 LZB-GA24-25F |
25 |
40~400 50`500 63~630 80~800 100~1000 120~1200 160~1600 200~2000 250~2500 300~3000 |
1.6~16 2~20 2.5~25 3~30 4~40 5~50 6~60 |
|||
|
LZB-GA24-40 LZB-GA24-40F |
40 |
160~1600 200~2000 250~2500 300~3000 400~4000 ?500~5000 |
5~50 6~60 8~80 9~90 12~120 |
<0.9 | ||
|
LZB-GA24-50 LZB-GA24-50F |
50 |
250~2500 300~3000 400~4000 500~5000 630~6300 800~8000 1000~10000 1500~15000 4000~16000 |
10~100 12~120 16~160 20~200 30~300 |
<0.7 | ||
☆注:型号后面“F”为防腐型(法兰与浮子材质为不锈钢材质)
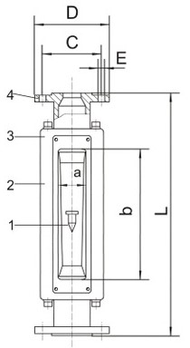
LZB-GA24型玻璃转子流量计安装尺寸
|
|
|||||||||||||||||||||||||||
LZB-GA24型玻璃转子流量计安装尺寸 LZB-GA24型玻璃转子流量计各部件材质:
|