装配式热电阻
发布时间:2026-01-20 ???
浏览次数:
一、概述
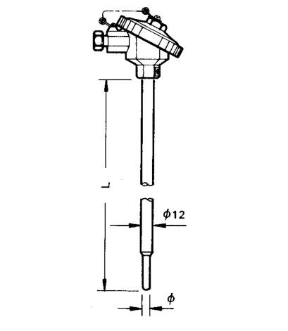
WZP-2312A(WZP-2316A、WZP-4312A、WZP-4316A)型装配式热电阻作为温度测量传感器采用引进铂电阻元件作为测温元件,通常用来和显示、记录、调节仪表配套,直接测量各种生产过程中从-200~500℃ 范围内的液体、蒸气和气体介质以及固体等表面温度。
WZP-2312A(WZP-2316A、WZP-4312A、WZP-4316A)型装配式热电阻是由感温元件、不锈钢外?;す?、接线盒以及各种用途的固定装置组成,产品有双支和单支元件两种规格,双支铂电阻可以同时输出二组相同电阻信号供使用。
WZP-2312A(WZP-2316A、WZP-4312A、WZP-4316A)型装配式热电阻是一种温度传感器,它是利用铂丝在温度变化时自身电阻也随着变化的特性来测量温度的,不锈钢保护管采用直径φ12mm或者φ16mm,材质有304、316L等材质,不但具有抗腐蚀性能,而且具有足够的机械强度,保证铂电阻能安全地使用在各种场合。
WZP-2312A(WZP-2316A、WZP-4312A、WZP-4316A)型装配式热电阻安装固定装置有固定螺纹、活动法兰盘、固定安装法兰盘和带固定螺栓锥形保护管装置等形式。由于热电阻传感器采集温度点在杆端部位置,为了保证热传递采集速度以及检测需要在传感器的端部采用缩径异径测温方式,一般杆端采用φ8mm或者φ6mm的测温端。
二、主要技术指标
热电阻感温元件在 0℃时的电阻值(R。)
分度号Pt100:A级R。=100士0.06Ω
B级R。=100±0.12Ω
三、量程规格:
|
型号 |
分度号 |
测温范围℃ |
精度等级 |
允许偏差△t℃ |
|
WZP |
PT100 |
-200~+500 |
A级 |
-200~650℃时允差±(0.15+0.002|t|) |
|
B级 |
-200~800℃时允差±(0.30+0.005|t|) |
注:“t”为感温元件实测温度绝对值。
四、装配式热电阻产品选型:
|
型号 |
型谱代码说明 |
|
WZP |
Pt100 铂电阻 热电阻 |
|
|
代码 |
测温芯片元件数量 |
|
1 |
单支 |
|
2 |
双支 |
|
|
代码 |
连接形式 |
|
1 |
无固定连接 |
|
2 |
固定螺纹连接 |
|
3 |
活动法兰连接 |
|
4 |
固定法兰连接 |
|
6 |
固定螺纹锥形式 |
|
|
代码 |
接线盒形式 |
|
3 |
防水型 |
|
4 |
隔爆型 |
|
|
代码 |
套管直径 |
|
0(16) |
φ16mm |
|
1(12) |
φ12mm |
|
T |
特殊说明 |
|
|
代码 |
设计序号 |
|
A |
异径传感器 |
|
|
代码 |
传感器尺寸(mm) |
|
L/l |
总长/插深 |
五、产品连接形式介绍
1、无固定装置式
|
型号 |
分度号 |
测温范围℃ |
精度等级 |
热响应时间τ0.5s |
长度L(mm) |
接线盒形式 |
|
WZP-1212A |
Pt100 |
-200~500 |
A级 |
<45 |
150~1200 |
防溅式 |
|
WZP2-1212A |
|
WZP-1312A |
防水式 |
|
WZP2-1312A |
注:?;す懿闹剩?Cr18Ni9Ti PT100为三线制 铠装形
2、固定螺纹式
|
型号 |
分度号 |
测温范围℃ |
精度等级 |
热响应时间τ0.5s |
长度L(mm) |
接线盒形式 |
|
WZP-2212A |
Pt100 |
-200~500 |
A级 |
<45 |
225*75
250*100
300*150
。。。。。。
1350*1200 |
防溅式 |
|
WZP2-2212A |
|
WZP-2312A |
防水式 |
|
WZP2-2312A |
|
WZP-2412A |
隔爆型 |
|
WZP2-2412A |
注:?;す懿闹剩?Cr18Ni9Ti PT100为三线制 铠装形
3、固定法兰式
|
型号 |
分度号 |
测温范围℃ |
精度等级 |
热响应时间τ0.5s |
长度L(mm) |
接线盒形式 |
|
WZP-4212A |
Pt100 |
-200~500 |
A级 |
<45 |
225*75
250*100
300*150
。。。。。。
1350*1200 |
防溅式 |
|
WZP2-4212A |
|
WZP-4312A |
防水式 |
|
WZP2-4312A |
|
WZP-4412A |
隔爆型 |
|
WZP2-4412A |
注:?;す懿闹剩?Cr18Ni9Ti PT100为三线制 铠装形